MIL-HDBK-740

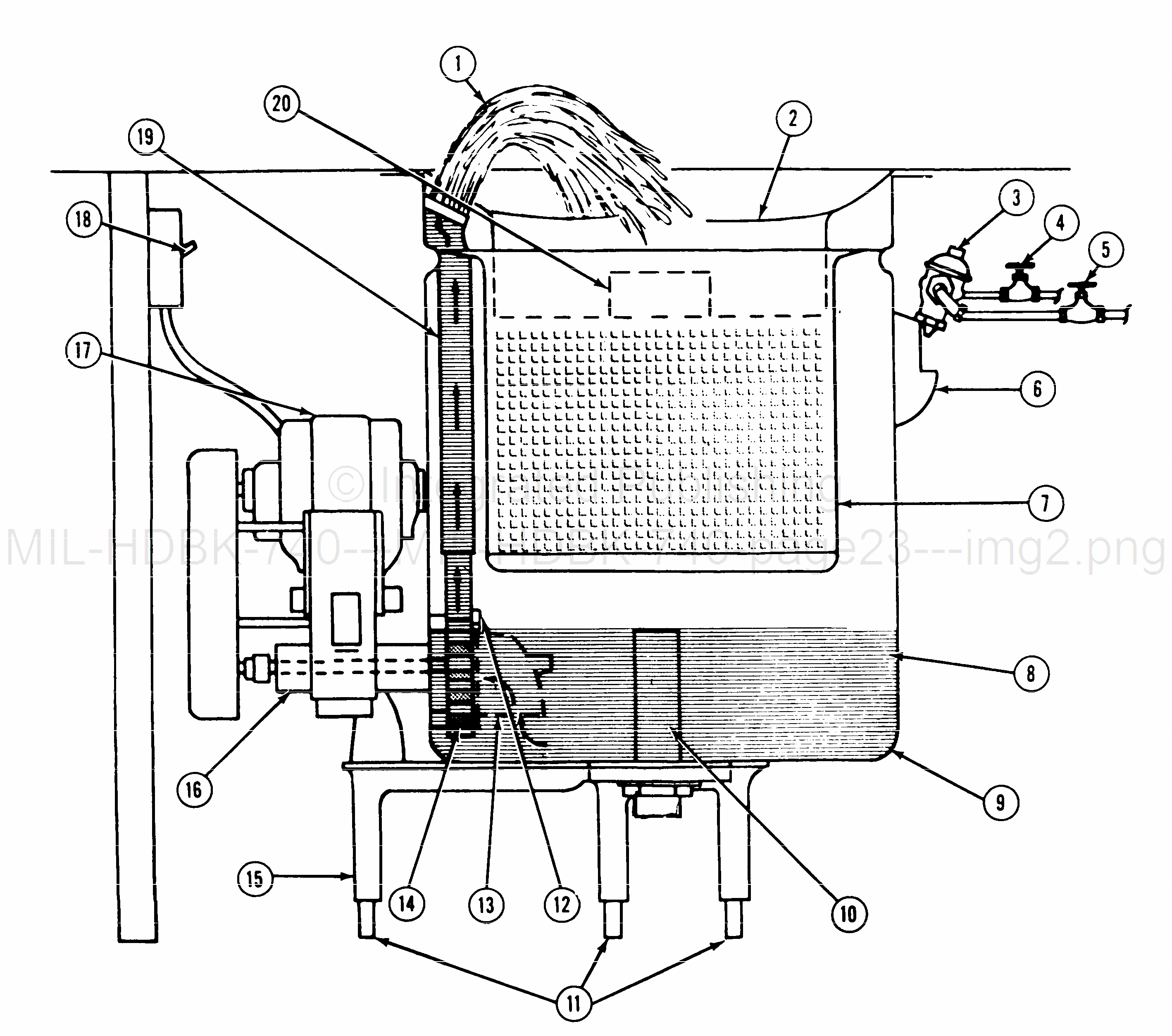
1 Water column
2 Scrapping plate
3 Mixing Valve
4 Hot water line valve
5 Cold waterline valve
6 Hand access opening
7 Scrap basket
8 Water operating level
9 Tank
10 Drain (overflow) pipe
11 Adjustable support legs
12 Pump intake plate locking dog
13 Pump intake plate
14 Impeller
15 Support castings
16 Pump
17 Pump motor
18 Pump motor switch
19 Gusher tube
20 Scrapping plate discharge opening
Figure 11 - Preflushing Machine
19
For Parts Inquires submit RFQ to Parts Hangar, Inc.
© Copyright 2015 Integrated Publishing, Inc.
A Service Disabled Veteran Owned Small Business